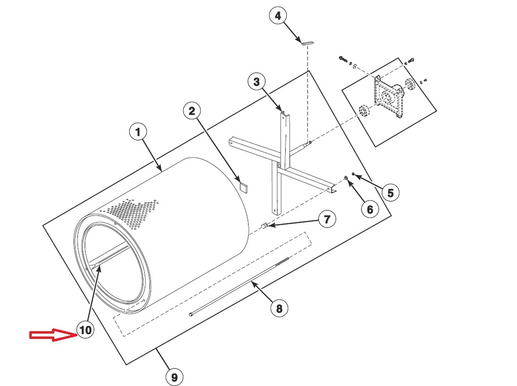
(IPSO DR35) CYLINDER RIB ASSEMBLY

NST PHYGDRYEID320

Valid Article



SC subscriptions: included in supply or field tools
OC subscriptions: included in supply or field order tools (e.g. UniField)
OC validations: approved for procurement and use by an OC for international or local orders specifying context and activity in Medical Standard Lists (MSL)

https://msf.oodin.sh/web/image/product.template/580598/image_1920?unique=e87d731

This combination does not exist.

Add article to list

   

Add Kit To Wishlist