CONCENTRATEUR O2 portable (Eclipse 5), 3l + acc.

NST EEMDCONE6--

Article valide

Ancien(s) Code(s): -X EHOEZBE0923 EHOEZFR0593 EHOECONC6-- EHOEZNL0366 EHOEZYN0007 EHOEZBE1180

Déclaration selon laquelle le produit est conforme aux normes européennes en matière de santé, de sécurité et de protection de l'environnement. Le marquage CE confère, par défaut, le droit de libre circulation sur l'ensemble du territoire del'Union Européenn (EEE).
Z12159004 - Concentrateurs d’oxygène
La nomenclature européenne des dispositifs médicaux (EMDN) est la nomenclature utilisée par les fabricants lorsqu'ils enregistrent leurs dispositifs médicaux dans la base de données EUDAMED. L'EMDN se caractérise par sa structure alphanumérique qui est établie dans un arbre hiérarchique à sept niveaux.
En Europe, le matériel médical qui répond à la définition d'un dispositif médical selon la MDR (Réglementation des Dispositifs Médicaux) est classé en 4 classes
La commande de ce produit doit être justifiée et n'est acceptable que sous certaines conditions.
Les matières et produits dangereux (identifiés par leur numéro ONU de transport à 4 chiffres) doivent être transportés sous certaines conditions comme spécifié dans la fiche de données de sécurité (MSDS).

Souscriptions OC: inclus dans les outils d'approvisionnement ou de commande sur le terrain (p.ex. UniField)
Souscriptions SC: inclus dans les outils d'approvisionnement ou de commande sur le terrain
Validations OC: approuvé pour l’approvisionnement et l'utilisation par un CO pour des commandes internationales ou locales précisant le contexte et l'activité dans les listes d’activités médicales standards (MSL)

https://msf.oodin.sh/web/image/product.template/576619/image_1920?unique=a708ea3

Cette combinaison n'existe pas.

Ajouter le produit à la liste

   

Ajouter le kit à la liste

   

CONCENTRATEUR O2, portable, (Eclipse 5) 3l

Remplacé par le système de remplissage de bouteilles d'oxygène i-Fill en 2020. L'Eclipse 5 n'est pas assez robuste pour être utilisé dans les contextes MSF et conçu pour une utilisation dans les climats tempérés et pour un usage domestique (voir “remplacé par“ en bas de page).

Le système i-Fill avec ses petites bouteilles d'oxygène offre une solution satisfaisante pour les transferts statiques de patients (entre services) et le transport en ambulance.

Pour certaines situations spécifiques l'Eclipse reste une option non standard deuxième choix: ambulance par air. Contacter votre référent biomédical pour plus d'informations.

Définition

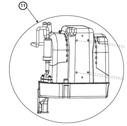
Dispositif portable alimenté par le secteur (courant alternatif) servant à concentrer l'oxygène (O2) de l'air ambiant et à administrer ensuite cet O2 concentré à un patient, à l'aide d'un fluxmètre intégré et d'une canule nasale reliée. Il est constitué d'un compresseur d'air, de filtres, de chambres doubles, d'un réservoir et de commandes. La concentration en O2 est variable et dépend du débit utilisé. Ce dispositif est conçu (contient des batteries internes) pour être transporté (porté par l'utilisateur durant un voyage).

Il est destiné au transport médical et non à l'évacuation (c'est-à-dire non à une ambulance aérienne certifiée) et l'état du patient doit correspondre au soutien disponible.

Spécifications

Des informations confidentielles ont été cachées Se Connecter pour consulter ces informations

Normes de qualité

ISO 80601-2-69, 2020, edition 2, Appareils électromédicaux - Partie 2-69: Exigences particulières pour la sécurité de base et les performances essentielles des dispositifs concentrateurs d'oxygène

Composants

Extracteur d'oxygène mobile + poignée, 40dB à 48dB 2 filtres :

  • Filtre d'éntree pour larges particules
  • filtre d'aspiration pour particules fines et bactéries

Connecteur standard pour la sortie d'oxygène (9/16)

Adaptateur pour voiture - ref 5942-SEQ

Chariot avec grandes roues

Chargeur AC - ref 5941-SEQ

Batterie - ref 7082-SEQ

Sac

canule nasal - Ref 1600-7

Spécifications techniques

  • Flux continu: 0,5 à 3,0 litres/min (incrémentations 0,5 litre)
  • Flux d'impulsion: 16-96 ml (incrémentations 8 ml), 128 ml, 160 ml, 192 ml
  • Précision flux continu : +/- 10% ou 200 ml/min
  • Concentration d'oxygène : 87–95,6% pour tous les réglages
  • Pression de sortie d'oxygène: 34,5 kPa nominal
  • Niveau de son nominal:
    • Flux continu max. : 48 dB
    • max flux d'impulsions : 40 dB
  • Contexte opérationnel:
    • température entre +10° et 40°C
    • humidité relative entre 10% et 95%

Dimensions

Volume h x l x p: 49,0cm x 31,2cm x 18,0cm

Poids: 6,8 kg + batterie 1,5 kg

Transport Marchandises Dangereuses

  • UN3481 Batteries au lithium ionique contenues dans un équipement
  • Classe: 9
  • Instructions d'emballage: 967 Section II
  • L'étiquette doit comporter le code UN de la batterie + un numéro d'urgence à contacter en cas d'incident
  • Limite par colis
    • Pax A/C (Avion Passagers & Cargo) = 5 kg
    • CAO (Uniquement Avion Cargo) = 5 kg
Image

A Commander Séparément

N'oublier pas de commander le matériel d'administration en quantité suffisante car ils sont patient unique!

  • masques à oxygène adulte et enfant
  • lunettes à oxygène pour adultes et enfants
  • lunettes à oxygène pour nouveaux-nés et prématurés
  • sondes à oxygène

Voir articles apparentés à la fin de la fiche technique

Conseils d'utilisation

Conservation

  • Température entre -20° et 60°C
  • Humidité relative: jusqu'à 95 % sans condensation

Critères MSF

Article sélectionné en 2015 pour une utilisation en ambulance.

Des informations confidentielles ont été cachées Se Connecter pour consulter ces informations
Des informations confidentielles ont été cachées Se Connecter pour consulter ces informations