CONCENTRATOR O2 portable (Eclipse 5), 3l + acc.

NST EEMDCONE6--

Valid Article

Former Code(s): -X EHOEZBE0923 EHOEZFR0593 EHOECONC6-- EHOEZNL0366 EHOEZYN0007 EHOEZBE1180

CE marking: declaration that the product meets EU standards for health, safety, and environmental protection. The CE marking indicates that the product may be sold freely in any part of the European Economic Area, regardless of its country of origin.
Z12159004 - Oxygen concentrators
European Medical Device Nomenclature (EMDN) is the nomenclature of use by manufacturers when registering their medical devices in the EUDAMED database. EMDN is characterised by its alphanumeric structure that is established in a seven-level hierarchical tree.
In Europe, medical material that fulfills the definition of a medical device according to the MDR (Medical Device Regulation) is classified into 4 classes
The order of this product needs to be justified and is only acceptable under certain conditions.
Hazardous materials and products (identified by their 4-digit transport UN-number) must be transported under certain conditions as specified in the MSDS sheet (Material Safety Data Sheet).

OC subscriptions: included in supply or field order tools (e.g. UniField)
SC subscriptions: included in supply or field tools
OC validations: approved for procurement and use by an OC for international or local orders specifying context and activity in Medical Standard Lists (MSL)

https://unicat.msf.org/web/image/product.template/576619/image_1920?unique=ddfa3f7

This combination does not exist.

Add article to list

   

Add Kit To Wishlist

   

CONCENTRATOR O2, portable, (Eclipse 5) 3l

Replaced by the filling system of oxygen cylinders i-Fill in 2020. The Eclipse 5 is not robust enough for the use in the MSF contexts and designed for use in temperate climates and home use (see “replaced by” at bottom of the page).

The i-Fill system with small oxygen cylinders provides a satisfactory solution for static patient transfer (between services) and ambulance transport.

For some specific situation the Eclipse remains a non-standard second choice option: air ambulance. Contact your biomedical advisor for more information.

Definition

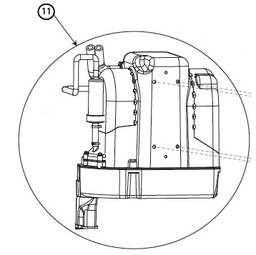
A portable mains electricity (AC-powered) device designed to concentrate oxygen (O2) from ambient air and deliver the concentrated O2, through an attached nasal cannula, to a patient requiring oxygen therapy. It consists of an air compressor, filters, dual chambers, a reservoir and controls. The O2 concentration is variable depending on the flow rate utilized. It has internal batteries for transportable use and is used in a vehicle/ ambulance.

It is intended for medical transport not evacuation (i.e. not certified air ambulance) and patient conditions should match available support.

Specifications

Some restricted information has been hidden. Sign in to see this information

Quality standards

ISO 80601-2-69, 2020, edition 2, Medical electrical equipment - Part 2-69: Particular requirements for the basic safety and essential performance of oxygen concentrator equipment

Components

Mobile oxygen extractor + handle, 40dB to 48dB 2 filters :

  • Cabinet inlet filter for large particles
  • Intake filter for fine dust particles and bacteria

Standard connector nozzle at oxygen O2 outflow (9/16)

DC car adaptator - ref 5942-SEQ

Big wheel trolley

AC charger - ref 5941-SEQ

Battery - ref 7082-SEQ

Bag

Nasal canula Ref 1600-7

Technical specifications

  • Continuous flow: 0.5 to 3.0 litres/min (0.5 liter increments)
  • Pulse flow: 16-96 ml (8 ml increments), 128 ml, 160 ml, 192 ml
  • Continuous Flow Accuracy : +/- 10% or 200 ml/min
  • Oxygen Concentration : 87–95.6% for all flow settings
  • Oxygen Output Pressure : 5.0 psig (34.5 kPa) nominal
  • Nominal sound level :
    • max continuous flow : 48 dB
    • Max pulse flow : 40 dB
  • Operating environment:
    • temperature between +10° and 40°C
    • relative humidity between 10% and 95%

Dimensions

Volume H x W x D: 49.0cm x 31.2cm x 18.0cm

Weight: 6.8 kg + battery 1.5 kg

Transport Dangerous Goods

  • UN3481 Lithium ion batteries contained in equipment
  • Class: 9
  • Packing Instructions: 967 Section II
  • The label must include the UN code of the battery + an emergency number to contact in case of an incident
  • Limit per package:
    • Pax A/C (Passengers & Cargo Aircraft) = 5 kg
    • CAO (Cargo Aircraft Only) = 5 kg
Image

To be Ordered Separately

Don't forget to order the administration devices in sufficient quantities because they are single patient use!

  • oxygen masks for adults and children
  • nasal oxygen cannula for adults and children
  • nasal oxygen cannula for neo-nates and prematures
  • oxygen tubes

See related articles at the end of the technical sheet

Instructions for use

Storage

  • Temperature between -20° and 60°C
  • Relative humidity: up to 95 % non-condensing

MSF requirements

Item selected in 2015 for ambulance use.

Some restricted information has been hidden. Sign in to see this information
Some restricted information has been hidden. Sign in to see this information